Beschrijving
fischer Metalen hollewandplug HM 6 x 37 S met metrische schroef
Art. nr. 519777
Kenmerken
Meerdere keren losdraaien en bevestigen van het montagestuk zonder dat het draagvermogen wordt verminderd. Dit vergroot de flexibiliteit.
Groot draagvermogen door het grote contactvlak van de spreidende armen.
Meedraaibeveiliging voor een comfortabele montage: De vleugels (klauwtjes) aan de rand van de plug houden hem stevig in het plaatmateriaal.
Geschikt voor de voorsteekmontage.
Compleet met metrische schroef.
Productomschrijving
De veelzijdige hollewandpluggen van metaal met metrische schroef.
Voordelen
Door het uitgebreide assortiment, is de HM geschikt voor plaatmateriaal met een dikte van 3-50 mm waardoor het voor tal van toepassingen gebruikt kan worden.
Het aanbouwdeel kan door het metrische binnendraad meerdere malen worden gemonteerd en gedemonteerd. Hierdoor is de HM zeer flexibel.
De spreidende armen van de HM zorgen voor een groot contactoppervlak waardoor hoge belastingen mogelijk zijn.
De weerhaken onder de kraag van de plug penetreren het plaatmateriaal waardoor het meedraaien van de plug in het boorgat wordt voorkomen en een veilige montage gegarandeerd is.
De fischer Metalen hollewandplug HM-S is een veelzijdige hollewandplug met metrische bout voor alle plaatmateriaal. De plug wordt met de fischer Hollewandplug tang HM-Z 1 in de voorsteekmontage geplaatst. Met de tang wordt de plug in de holle ruimte achter het plaatmateriaal getrokken. De armen spreiden zich daarbij uit achter het plaatmateriaal en verdelen de krachten over een groot oppervlak. Als alternatief is de montage ook met behulp van een schroevendraaier of een accu-schroefboormachine mogelijk. De fischer Metalen hollewandplug HM-S is geschikt voor de bevestiging van verlichting, handdoekenrekken en gordijnrails in de interieurbouw.
Technische gegevens
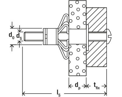
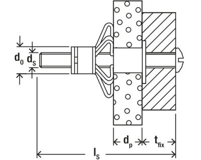
Boordiameter (d0) 12 mm
Plaatdikte (dp) 6 – 15 mm
Pluglengte (l) 37 mm
Min. boorgatdiepte (h1) 45 mm
Soort verpakking Doos
Hoeveelheid 50 St.
GTIN (EAN-Code) 4048962164893
Montage instructies
Functie
De hollewandplug HM is geschikt voor voorsteekmontage
De bevestiging dient geselecteerd te worden op basis van de dikte van het plaatmateriaal zodat de armen zich uit kunnen spreiden op een zo groot mogelijk oppervlak.
Tijdens de montage spreiden de armen zich uit en drukken zich op de achterzijde van het plaatmateriaal.
De HM kan gemonteerd worden met een montagetang. Bij het gebruik van een accuschroevendraaier of schroevendraaier, dient u de voorgemonteerde schroef eerst te demonteren. Bij het inschroeven en het spreiden van de armen, dient het aanbouwdeel of plaatdikte van maximaal 6 mm geplaatst te worden gebruikt om meedraaien van de hollewandplug in het boorgat te voorkomen.









