Beschrijving
fischer Tuimelplug KDH 4 met haak
Art. nr. 84342
Kenmerken
Groot draagvermogen door een goede lastverdeling van het kantelelement.
Eenvoudige montage door zelfopenende spanveer.
Grote mate van flexibiliteit door lange schroefdraad. Gebruik bij verschillende plaatdikten en dikte van de montagestukken.
Met haak.
Geschikt voor de voorsteekmontage.
Productomschrijving
De hollewandplug met haak voor verschillende plaatdikten.
Voordelen
De lange draadstang maakt het gebruik mogelijk van de meest verschillende dikten van platen en montagestukken.
De tuimelelementen gaan automatisch open en zorgen zo voor een eenvoudige montage.
Geen speciaal montagehulpstuk noodzakelijk
Met de fischer Tuimelplug KDH kunnen bijvoorbeeld lampen in gipskarton- en gipsvezelplaten, spaanplaat en kanaalplaten van baksteen en beton worden bevestigd. De tuimelplug wordt in de voorsteekmontage in het boorgat geplaatst en klapt achter de plaat automatisch open. Hiervoor is geen speciaal montagegereedschap nodig en zorgt voor een gemakkelijke en snelle montage.
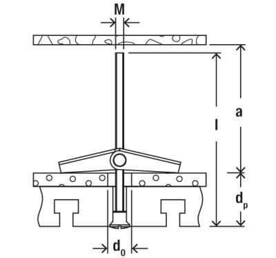
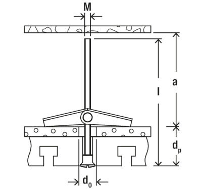
Technische gegevens
Boordiameter (d0) 14 mm
Max. plaatdikte (dp) 25 mm
Min. diepte van de holle ruimte (a) 34 mm
Pluglengte (l) 95 mm
Draad (Ø x Lengte) M4 x 95 mm
Inhoud 2 x KDH 4
Soort verpakking Blisterkaart
Hoeveelheid 2 St.
GTIN (EAN-Code) 8590369843421
Montage instructies
Functie
De tuimelpluggen zijn geschikt voor de voorsteekmontage.
De draagelementen van de tuimelplug gaan na het inbrengen in het boorgat achter de plaat automatisch open.
Geen speciaal montagehulpstuk noodzakelijk. Voor een comfortabele en snelle montage.







